Professor Hwang Ho-sik of Yeouido St. Mary's Hospital registers a patent for a multi-focus artificial lens evaluation device

Oct 17, 2025

Professor Hwang Ho-sik of Yeouido St. Mary's Hospital registers a patent for a multi-focus artificial lens evaluation device
Optical bench for multifocal IOL configuration



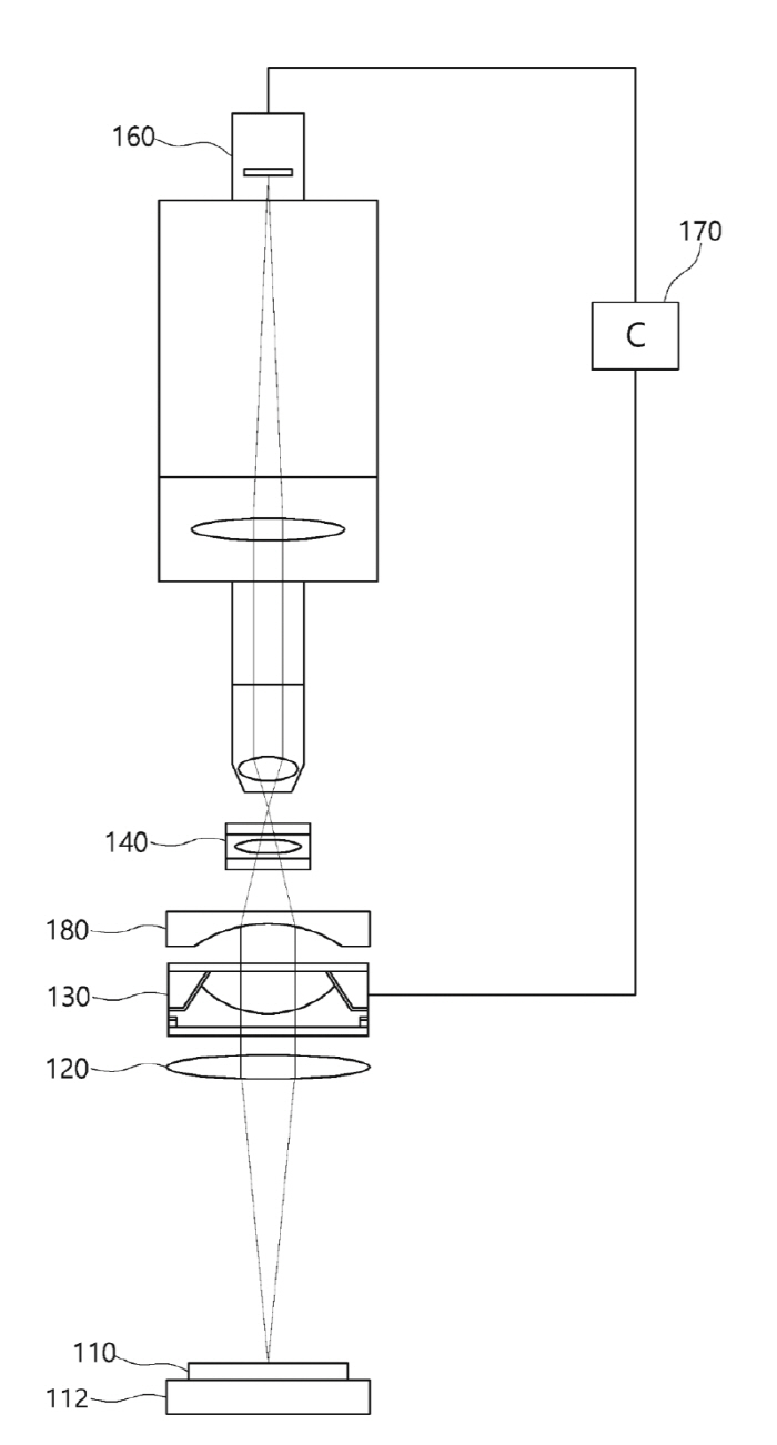
Hwang Ho-sik, a professor at the Catholic University of Korea's Yeouido St. Mary's Eye Hospital, recently completed the U.S. patent registration of a multifocal artificial lens evaluation device 'Optical bench for multifocal IOL'. This invention is designed to objectively and quickly evaluate the performance of multifocal artificial lenses (multifocal IOL).

Cataract surgery is a standard treatment for removing cloudy lenses and inserting artificial lenses (IOLs). Existing clinical research-based evaluations are conducted through patient vision and satisfaction surveys, but the burden of time and cost and subjectivity have been pointed out as limitations.

Professor Hwang's patent technology inserts an artificial lens into a tank on an optical bench, creates a decoy point so that various distances can be simulated with an electric liquid lens, and then photographs and analyzes the signs. The key is to increase repeatability and reproducibility by automating the entire process from mark shooting to data analysis.




Professor Hwang said, "This invention is a device that enables fast and objective measurement of the performance of a multifocal intraocular lens by implementing an electrical out-of-focus technology."We will build the evaluation results into a standardized database so that ophthalmologists and patients scheduled for cataract surgery can easily access them on the hospital website." he said.

Yeouido St. Mary's Eye Hospital plans to compare and verify multifocal artificial lenses at home and abroad based on the equipment and secure the basis for the selection of multifocal artificial lenses in the clinical field to contribute to customized treatment for patients.



Professor Hwang Ho-sik of Yeouido St. Mary's Hospital registers a patent for a multi-focus artificial lens evaluation device
황호식 교수


This article was translated by Naver AI translator.